Question #65453

A bullet of mass 20 g, travelling at a speed of 350 ms-1, strikes a steel plate at an angle of 30º with the plane of the plate. It ricochets off at the same angle, at a speed of 320 ms-1. What is the magnitude of the impulse that the steel plate gives to the projectile? If the collision with the plate takes place over a time ∆t = 10-3 s, what is the average force exerted by the plate on the bullet?
1

Expert's answer

2017-02-23T13:19:05-0500

Answer on Question 65453, Physics, Mechanics, Relativity

Question:

A bullet of mass 20g20g , travelling at a speed of 350 ms1350~ms^{-1} , strikes a steel plate at an angle of 3030{}^{\circ} with the plane of the plate. It ricochets off at the same angle, at a speed of 320 ms1320~ms^{-1} . What is the magnitude of the impulse that the steel plate gives to the projectile? If the collision with the plate takes place over a time Δt=103s\Delta t = 10^{-3}s , what is the average force exerted by the plate on the bullet?

Solution:

a)



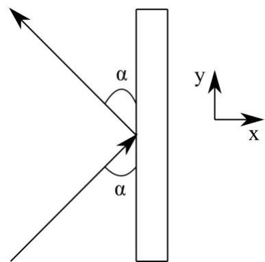
Let's first find xx - and yy -components of the impulse that the steel plate gives to the projectile (we take the positive xx - and yy -directions as in the picture above):


Jx=Δpx=mvfxmvix=m(vfxsinαvixsinα)==0.02kg(320ms1sin30350ms1sin30)=6.7Ns,\begin{array}{l} J _ {x} = \Delta p _ {x} = m v _ {f x} - m v _ {i x} = m \left(- v _ {f x} \sin \alpha - v _ {i x} \sin \alpha\right) = \\ = 0. 0 2 k g \cdot \left(- 3 2 0 m s ^ {- 1} \cdot \sin 3 0 {}^ {\circ} - 3 5 0 m s ^ {- 1} \cdot \sin 3 0 {}^ {\circ}\right) = - 6. 7 N \cdot s, \\ \end{array}Jy=Δpy=mvfymviy=m(vfycosαviycosα)==0.02kg(320ms1cos30350ms1cos30)=0.52Ns.\begin{array}{l} J _ {y} = \Delta p _ {y} = m v _ {f y} - m v _ {i y} = m \left(v _ {f y} \cos \alpha - v _ {i y} \cos \alpha\right) = \\ = 0. 0 2 k g \cdot \left(3 2 0 m s ^ {- 1} \cdot c o s 3 0 {}^ {\circ} - 3 5 0 m s ^ {- 1} \cdot c o s 3 0 {}^ {\circ}\right) = - 0. 5 2 N \cdot s. \\ \end{array}


We can find the magnitude of the impulse that the steel plate gives to the projectile from the Pythagorean theorem:


J=Jx2+Jy2=(6.7Ns)2+(0.52Ns)2=6.7Ns.J = \sqrt {J _ {x} ^ {2} + J _ {y} ^ {2}} = \sqrt {(- 6 . 7 N \cdot s) ^ {2} + (- 0 . 5 2 N \cdot s) ^ {2}} = 6. 7 N \cdot s.


b) We can find the average force exerted by the plate on the bullet from the definition of the impulse:


J=FˉΔt,J = \bar {F} \Delta t,Fˉ=JΔt=6.7Ns103s=6700N.\bar {F} = \frac {J}{\Delta t} = \frac {6.7 \, N \cdot s}{10^{-3} \, s} = 6700 \, N.


Answer:

a) J=6.7NsJ = 6.7 \, N \cdot s.

b) Fˉ=6700N\bar{F} = 6700 \, N.

Answer provided by https://www.AssignmentExpert.com

Need a fast expert's response?

Submit order

and get a quick answer at the best price

for any assignment or question with DETAILED EXPLANATIONS!

Comments

Assignment Expert
29.05.17, 16:00

Dear visitor, please use panel for submitting new questions

simanchal sahoo
29.05.17, 09:14

The manufacturer of a popular brand of TV knows from his past experience that the probability of his TV set failing to work properly during the warranty period is 0.04. Find the probability that in a sample of 25 sold TV sets selected at random, 6 or less TV sets will be failing to work properly during the warranty period. Use both the binomial and Poisson rule and compare the results.

LATEST TUTORIALS
APPROVED BY CLIENTS