Question #60862

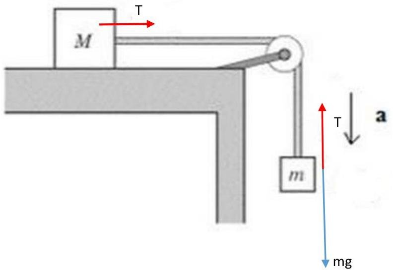
A frictionless pulley system is released from rest and moves 18.3 cm in 1.80351 s. The acceleration of gravity is 9.8 m/s2 . The image depicts a pulley system with two blocks connected together by wire, Block 1, weighing 3kg, is on a frictionless table, while Block 2, connected to the 3kg block (Block 1), is hanging off the table. The pulley being in the middle of Block 1 and Block 2.

What is the value of the mass of Block 2? Assume all surfaces are frictionless. Answer in units of kg.
1

Expert's answer

2016-07-19T14:42:02-0400

Answer Question #60862 Physics - Mechanics - Relativity

A frictionless pulley system is released from rest and moves 18.3cm18.3\mathrm{cm} in 1.80351s. The acceleration of gravity is 9.8 m/s29.8~\mathrm{m / s2} . The image depicts a pulley system with two blocks connected together by wire, Block 1 weighing 3kg3\mathrm{kg} , is on frictionless table, while Block 2, connected to the 3kg3\mathrm{kg} block (Block 1), is hanging off the table. The pulley being in the middle of Block 1 and Block 2.

What is the value of the mass of Block 2? Assume all surfaces are frictionless. Answer in units of kg.

Solution. According to the statement of the problem

M=3kgBlock1;mBlock2;S=0.183mM = 3\mathrm{kg} - \mathrm{Block}1;m - \mathrm{Block}2;S = 0.183\mathrm{m} path; t=1.80351stimet = 1.80351\mathrm{s} - \mathrm{time} motion.



A frictionless pulley system is accelerated from rest. Using formula for path acceleration motion


S=ut+at22,S = u t + \frac {a t ^ {2}}{2},


where uu - initial velocity (in our case u=0m/su = 0\mathrm{m / s} ), aa - acceleration, tt - time taken. Hence


S=at22a=2St2.S = \frac {a t ^ {2}}{2} \rightarrow a = \frac {2 S}{t ^ {2}}.


Get acceleration a=20.1831.8035120.11252ms2a = \frac{2 \cdot 0.183}{1.80351^2} \approx 0.11252 \frac{m}{s^2} . Both blocks move with this acceleration.

Using Newton's second law:

The acceleration of an object as produced by a net force is directly proportional to the magnitude of the net force, in the same direction as the net force, and inversely proportional to the mass of the object.

Consider the forces acting on the blocks and using second Newton's law write equation (given the lack of friction):

ma=mgTma = mg - T (for Block 1), where TT - tension force;

Ma=TM a = T (for Block 2), where TT - tension force.

Write system equation


{ma=mgTMa=T\left\{ \begin{array}{c} m a = m g - T \\ M a = T \end{array} \right.


Add the first and second equation get a(m+M)=mgaM=m(ga)m=aMgaa(m + M) = mg \rightarrow aM = m(g - a) \rightarrow m = \frac{aM}{g - a} .


m=30.112529.80.112520.035kg=35g.m = \frac {3 \cdot 0 . 1 1 2 5 2}{9 . 8 - 0 . 1 1 2 5 2} \approx 0. 0 3 5 k g = 3 5 g.


Answer: 0.035kg=35g0.035\mathrm{kg} = 35\mathrm{g}

https://www.AssignmentExpert.com

Need a fast expert's response?

Submit order

and get a quick answer at the best price

for any assignment or question with DETAILED EXPLANATIONS!

Comments

No comments. Be the first!
LATEST TUTORIALS
APPROVED BY CLIENTS