Question #170088

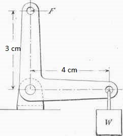
Draw a sketch for a cranked lever of the following dimesions ;


handle length = 300 mm

lever arm length = 400 mm

overhang of the journal = 100 mm


1

Expert's answer

2021-03-10T05:53:59-0500

The answer to your question is provided in the image:

Need a fast expert's response?

Submit order

and get a quick answer at the best price

for any assignment or question with DETAILED EXPLANATIONS!

Comments

No comments. Be the first!
LATEST TUTORIALS
APPROVED BY CLIENTS